
Лампы коммутационные ЛК-22 IP55
Лампы коммутационные Dekraft серии ЛК-22 IP55 предназначены для индикации состояния электрических цепей. Применяются в электрических цепях постоянного и переменного тока частотой 50/60 Гц с номинальным рабочим напряжением 12В AC/DC, 24В AC/DC, 110В AC/DC, 220В AC/DC или 220В AC, 380В AC.
Описание
Лампы коммутационные серии ЛК-22 IP55 состоят из индикатора и контактов. Модели ламп отличаются номинальным напряжением питания и цветом светофильтра.
Принцип действия
При подаче напряжения на контакты и прохождении электрического тока через светодиодную матрицу устройства, излучается световой поток, цвет которого определяется цветом светофильтра.
Сфера применения
Промышленные предприятия
Производственные объекты
Общественные и административные здания
Применяются в составе низковольтного оборудования ВРУ, ГРЩ, универсальных щитов, а также в промышленных установках, пунктах управления. Цветовые варианты позволяют интуитивно понятно компоновать щиты и панели для различных применений. Высокая степень защиты IP55 позволяет применять лампы для решений с жесткими требованиями.
Преимущества
Слабая чувствительность к колебаниям напряжения
(±20% от номинала) позволяет использовать лампы коммутационные ЛК-22 IP55 в электрических цепях с нестабильным напряжением
Светодиодные матрицы (LED)
в качестве источника света позволяют снизить в 15-20 раз потребление электроэнергии, а также обеспечивают более яркий световой поток
Увеличенный срок службы
ламп коммутационных серии ЛК-22 IP55 30 000 часов (против 6 000 часов у аналогов из того же ценового сегмента)
Установочный диаметр 22 мм
полностью соответствует продукции европейских производителей, а также позволяет сэкономить место на лицевой панели щита
Антивандальное исполнение
(высокая вибро- и ударостойкость) позволяет сохранить эргономичный внешний вид и функциональность устройств на протяжении всего срока службы
Высокий уровень защиты
конструктивные особенности и наличие резиновых уплотнительных колец между светофильтром и фиксирующей гайкой обеспечивают степень защиты IP20 со стороны контактной группы и IP55 со стороны светофильтра
Технические характеристики
| Параметр / Серия | ЛК-22 |
| Соответствие регламентам и стандартам | ТР ТС 004 / 2011, ГОСТ IEC 60947-5-1 |
| Номинальное рабочее напряжение Ue, В | AC/DC 12, 24, 110, 220; AC 220, 380 |
| Номинальное напряжение изоляции Ui, В | AC 690 |
| Номинальная частота сети, Гц | 50 |
| Импульсное выдерживаемое напряжение, Uimp , кВ | 6 |
| Срок службы, ч | 30 000 |
| Яркость свечения (кд/м2) | ≥40 |
| Тип лампы | светодиодная матрица, типа LED |
| Потребляемый ток, не более, мА | 20 |
| Установочный диаметр, мм | 22,5, 22,3 +0,4/0 в соотв. с ГОСТ IEC 60947-5-1 |
| Цвет светофильтра | зелёный, белый, красный, жёлтый, синий |
| Ремонтопригодность | неремонтопригодные |
| Степень защиты по ГОСТ 14254 | IP20 (задняя панель), IP55 (лицевая панель) |
| Момент затяжки винтов Н·м | 0.8 (макс. 1.2) |
| Сечение подключаемых проводников, мм2 | 0.5 – 1,5 |
| Способ установки и момент затяжки Н·м | 2, крепежная гайка под головкой |
| Защита от короткого замыкания А, тип | 6, плавкая вставка тип gG |
| Диапазон температуры эксплуатации, °C | от -25 до +55 |
| Диапазон температуры хранения, °C | от -35 до +70 |
| Срок службы, лет | 10 |
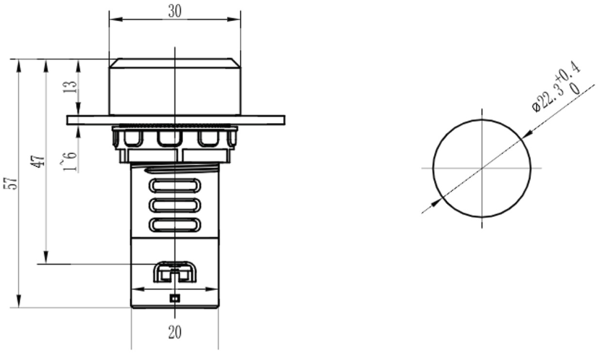
Схемы и графики
| Тип / внешний вид | Схема подключения | Габаритные и установочные размеры, мм |
ЛК-22-ADDS IP55
| ![]() | ![]() |

Структура условного обозначения

Полный ассортимент
| Тип / Внешний вид | Цвет / Тип идикатора | Модель | Артикул |
ЛК-22-ADDS 220В AC/DC
| Синий / Светодиодная матрица | ЛК-22-ADDS-LED-BLU-AC/DC220В-IP55 | 25150DEK |
| Зеленый / Светодиодная матрица | ЛК-22-ADDS-LED-GRN-AC/DC220В-IP55 | 25151DEK | |
| Белый / Светодиодная матрица | ЛК-22-ADDS-LED-WHI-AC/DC220В-IP55 | 25152DEK | |
| Красный / Светодиодная матрица | ЛК-22-ADDS-LED-RED-AC/DC220В-IP55 | 25153DEK | |
| Желтый / Светодиодная матрица | ЛК-22-ADDS-LED-YEL-AC/DC220В-IP55 | 25154DEK | |
ЛК-22-ADDS 220В AC
| Синий / Светодиодная матрица | ЛК-22-ADDS-LED-BLU-AC220В-IP55 | 25155DEK |
| Зеленый / Светодиодная матрица | ЛК-22-ADDS-LED-GRN-AC220В-IP55 | 25156DEK | |
| Белый / Светодиодная матрица | ЛК-22-ADDS-LED-WHI-AC220В-IP55 | 25157DEK | |
| Красный / Светодиодная матрица | ЛК-22-ADDS-LED-RED-AC220В-IP55 | 25158DEK | |
| Желтый / Светодиодная матрица | ЛК-22-ADDS-LED-YEL-AC220В-IP55 | 25159DEK | |
ЛК-22-ADDS 24В AC/DC
| Зеленый / Светодиодная матрица | ЛК-22-ADDS-LED-GRN-AC/DC24В-IP55 | 25160DEK |
| Красный / Светодиодная матрица | ЛК-22-ADDS-LED-RED-AC/DC24В-IP55 | 25161DEK | |
| Желтый / Светодиодная матрица | ЛК-22-ADDS-LED-YEL-AC/DC24В-IP55 | 25162DEK | |
| Белый / Светодиодная матрица | ЛК-22-ADDS-LED-WHI-AC/DC24В-IP55 | 25163DEK | |
| Синий / Светодиодная матрица | ЛК-22-ADDS-LED-BLU-AC/DC24В-IP55 | 25164DEK | |
ЛК-22-ADDS 12В AC/DC
| Зеленый / Светодиодная матрица | ЛК-22-ADDS-LED-GRN-AC/DC12В-IP55 | 25165DEK |
| Красный / Светодиодная матрица | ЛК-22-ADDS-LED-RED-AC/DC12В-IP55 | 25166DEK | |
| Желтый / Светодиодная матрица | ЛК-22-ADDS-LED-YEL-AC/DC12В-IP55 | 25167DEK | |
| Белый / Светодиодная матрица | ЛК-22-ADDS-LED-WHI-AC/DC12В-IP55 | 25168DEK | |
| Синий / Светодиодная матрица | ЛК-22-ADDS-LED-BLU-AC/DC12В-IP55 | 25169DEK | |
ЛК-22-ADDS 110В AC/DC
| Зеленый / Светодиодная матрица | ЛК-22-ADDS-LED-GRN-AC/DC110В-IP55 | 25170DEK |
| Красный / Светодиодная матрица | ЛК-22-ADDS-LED-RED-AC/DC110В-IP55 | 25171DEK | |
| Желтый / Светодиодная матрица | ЛК-22-ADDS-LED-YEL-AC/DC110В-IP55 | 25172DEK | |
| Белый / Светодиодная матрица | ЛК-22-ADDS-LED-WHI-AC/DC110В-IP55 | 25173DEK | |
| Синий / Светодиодная матрица | ЛК-22-ADDS-LED-BLU-AC/DC110В-IP55 | 25174DEK | |
ЛК-22-ADDS 380В AC
| Зеленый / Светодиодная матрица | ЛК-22-ADDS-LED-GRN-AC380В-IP55 | 25175DEK |
| Красный / Светодиодная матрица | ЛК-22-ADDS-LED-RED-AC380В-IP55 | 25176DEK | |
| Желтый / Светодиодная матрица | ЛК-22-ADDS-LED-YEL-AC380В-IP55 | 25177DEK | |
| Белый / Светодиодная матрица | ЛК-22-ADDS-LED-WHI-AC380В-IP55 | 25178DEK | |
| Синий / Светодиодная матрица | ЛК-22-ADDS-LED-BLU-AC380В-IP55 | 25179DEK |










